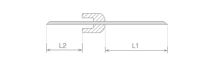
¸ðµ¨ 27G-L 27G-S 30G-L 30G-S 30G-XS
L1 30¡¾2mm 21¡¾2mm 25¡¾2mm 21¡¾2mm 12¡¾2mm
L2 11.5mm 11.5mm 11.5mm 11.5mm 11.5mm
¿Ü°æ 0.4mm  0.4mm 0.3mm 0.3mm 0.3mm
Áß·® 1.734g¡¾0.01g 1.715g¡¾0.01g 1.715g¡¾0.01g 1.708g¡¾0.01g 1.701g¡¾0.01g
À̹ÌÁö
¶óº§Ä®¶ó ¿À·»Áö»ö ³ë¶õ»ö º¸¶ó»ö ÃÊ·Ï»ö ÆÄ¶õ»ö
À̹ÌÁö

 

 
E-mail Copyright (c) 2003 BIODENT All rights reserved